
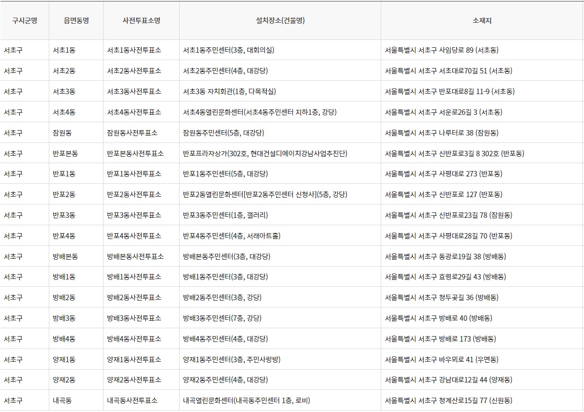
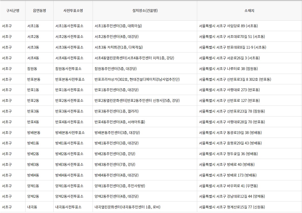
제 22대 국회의원 선거 사전투표소 - 서울특별시 서초구
사전투표 일정
사전투표일정 : 2024.04.05(금) ~ 04.06(토) [매일 06:00 ~ 18:00]
선거권 : 선거일 현재 18세 이상의 국민 (2006.04.11일 출생자까지)
준비물 : 신분증(주민등록 중, 여권, 운전면허증) 지참

'유용한정보' 카테고리의 다른 글
| 2024 총선 제 22대 국회의원 선거 사전투표소 - 서울특별시 구로구 (0) | 2024.04.05 |
|---|---|
| 2024 총선 제 22대 국회의원 선거 사전투표소 - 서울특별시 강동구 (0) | 2024.04.04 |
| 2024 총선 제 22대 국회의원 선거 사전투표소 - 서울특별시 송파구 (0) | 2024.04.04 |
| 2024 총선 제 22대 국회의원 선거 사전투표소 - 서울특별시 강남구 (0) | 2024.04.04 |
| 2024 총선 제 22대 국회의원 선거 사전투표소 - 서울특별시 영등포구 (0) | 2024.04.04 |
| 2024 총선 제 22대 국회의원 선거 사전투표소 - 서울특별시 중랑구 (0) | 2024.04.04 |
| 2024 총선 제 22대 국회의원 선거 사전투표소 - 서울특별시 동대문구 (0) | 2024.04.04 |
| 2024 총선 제 22대 국회의원 선거 사전투표소 - 서울특별시 광진구 (0) | 2024.04.04 |